
CARACTERISTIQUES :
- Passage intégral
- Axe inéjectable
- Presse étoupe PTFE
- Poignée cadenassable
- Réhausse en inox 304 ( en option )
- Gaine de poignée bleue en option
UTILISATION :
- Industries chimiques et pharmaceutiques, industries pétro-chimiques
- Température mini et maxi admissible Ts : -20°C à + 180°C
- Pression maxi admissible Ps : 63 bars jusqu’au DN20, 40 bars du DN 25 au 50, 25 bars du DN65 au 80 et 20 bars en DN100 (voir courbe ci-dessous)
COURBE PRESSION / TEMPÉRATURE ( HORS VAPEUR ET HORS AIR COMPRIME ) :

COUPLES DE MANOEUVRE ( en Nm sans coefficient de sécurité ) :

GAMME :
- Acier inox Réf. 790/791/792 du DN 8 au DN 100
RACCORDEMENT :
- Femelle / femelle taraudé BSP
NOMENCLATURE ROBINETS :


DIMENSIONS ROBINETS ( en mm ) :


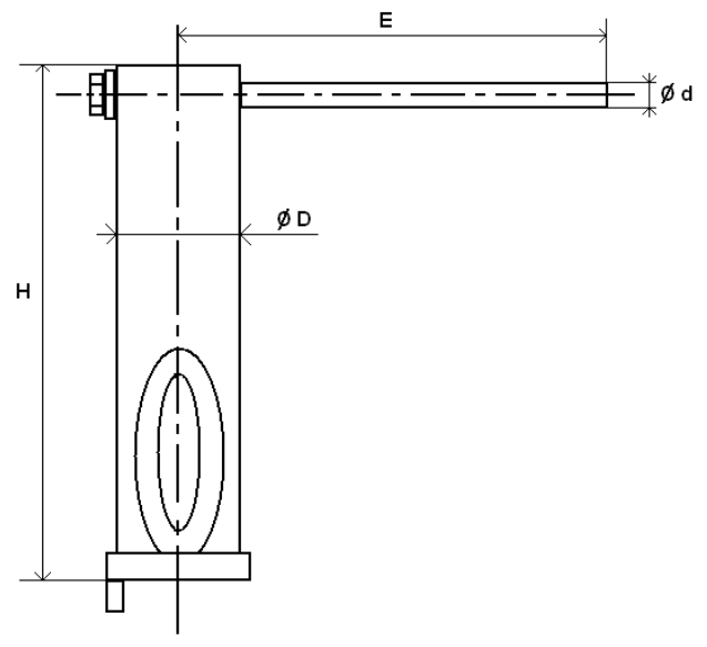
DIMENSIONS POIGNÉES REHAUSSÉES ( en mm ) :


NORMALISATIONS :
- F Fabrication suivant la norme ISO 9001 : 2008
- DIRECTIVE 97/23/CE : CE N° 0035 Catégorie de risque II
- Tests d’étanchéité suivant la norme EN 12266-1, classe A
- Raccords taraudés BSP cylindrique suivant norme ISO 228-1
- Raccords taraudés NPT suivant norme ANSI B1.20.1
COUPLES DE MANŒUVRE ( en Nm sans coefficient de sécurité ) :

COUPLES DE SERRAGE DES TIRANTS ( en Nm) :

Informations données à titre indicatif et sous réserve de modifications éventuelles
TELECHARGEMENT =>


